Here you can configure your Energy Chain System® individually. All entries will be copied to the Bill of Materials shown at the bottom of this page.
Series 29, Energy chain® with crossbars every second link.
1.KMA-mounting brackets
2.Mounting brackets, locking or pivoting form
3.R77: Swivelable and removable lid
4.R77: Removable bottom lids
5.Combinable tube and chain
6.Strain relief integratable in AE
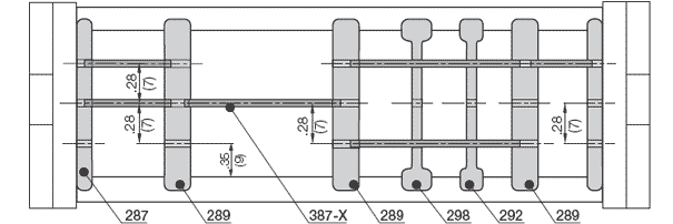
7.28/29: Removable crossbars on both sides
Inner widths Bi: 1.97 up to 15.75 (50 - 400 mm)
Bending radii R: 2.48 up to 11.81 (63 - 300 mm)
Pitch: 2.2 (56 mm) per link = 6 links/ft (18/m)