Change Language :

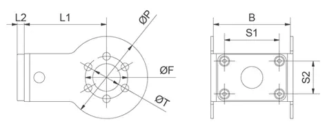
Dimensions [mm]
Part. No.
L1
L2
S1
S2
B
ØP
ØF
ØT
RL-DC-20-GRI-60-01-xx
60
5
40
24
56
60
31
20
[Wakoadd artnr="XXX" text="Enquiries"]
RL-DC-20-GRI-90-01-xx
90
5
40
24
56
60
31
20
[Wakoadd artnr="XXX" text="Enquiries"]

Delivery times
from stock/ex stock