Change Language :
Heights of over 328 ft are possible with igus® e-chain® cable carriers in hanging applications. Particularly in the material handling industry, for example, the application of an energy chain ensures that individual cables do not get caught up in shelving or protruding pallets.
Two important factors in vertical cable management are how the conduits lay in the e- chain and how they are secured at the end points: All cables and hoses must be hung so that they bear their own weight. The energy chain fulfills the function of orderly conduit bundling only and should not absorb any further tensile forces. igus® interior separation elements should be used for distinct division of all cables and hoses. The cables and hoses must be secured carefully to both end points of the e-chain®. The strain relief must be designed so that the opposite run cannot catch.
A normal igus® e-chain® with camber is suitable for hanging use if enough space is available. If there is no room - as is frequently the case for storage and retrieval systems in narrow aisles - a "no camber" energy chain must be ordered. Order example: 27.07.100.0.NC (NC = no camber) These versions are offered at no additional charge, but with a slightly longer delivery period - usually 1-2 business days longer.

If the application involves vertical motion without lateral acceleration, the cable carrier can be installed without lateral support. If the space restrictions are severe, an igus® energy chain with no camber must be specified.
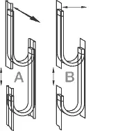
If lateral acceleration occurs, lateral guidance of the e-chain® must be provided in most cases. The diagram to the right shows the principle of such guidance. Partial guidance is also an option - however, it must at least cover the area in which the e-chain® may sway. Lateral acceleration can occur in two directions. The lateral guidance must be installed accordingly. If you have a choice, the layout in Figure A is preferred. Additional guidance along the side of the energy chain helps to stabilize the chain further.
| Travel height max: | 328 ft |
|---|---|
| v max: | 66 ft/s dependent on height and stability of the e-chain® |
| a max: | 164 ft/s2 dependent on height and stability of the e-chain® |
The modular design of igus® e-chain® facilitates this space-saving and unconventional solution. For modern platform technology, such as performance stages, a variety of conduits which adjust the stage height must be accommodated. Lack of space almost invariably presents particular difficulties. The photo below shows an e-chain® in a "Zig-Zag" configuration. The un-extended e-chain® is stored in a "basket" underneath the stage. If the stage is raised, the energy chain unfolds, generating little to no noise. This construction is possible with System E4/4, E4/0 E- Chains® as well as many other types. Please consult igus® for these kinds of applications.

Customer Service:
Phone: Monday to Friday from 8 am - 8 pm
LiveChat: 24 hours
Book a Call
Book an Appointment with a Product Expert